Горелки и форсунки для сжигания жидкого топлива...
Горелки газовые, жидкотопливные для котлов купи...
Горелка газовая портативная с пьезоподжигом, по...
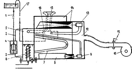
2432530 - Горелка для сжигания газообразного и/...
Горелка ГБж-0,6 дизельная с подогревом топлива,...
Дизельные горелки: выбор форсунок и фильтров, у...
Типы горелок для жидкого топлива
Горелки для отопительных котлов.Газовые горелки...
Всё своими руками. | Печная безнапорная горелка...
Спиртовая горелка походная туристическая для су...
Мультитопливная горелка Primus OmniFuel - Boris...
Все своими руками. | Печная безнапорная горелка...
Горелочные устройства для сжигания жидкого топл...
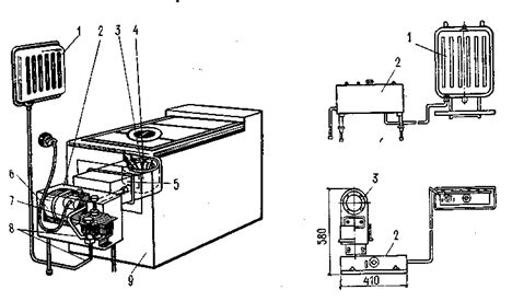
Горелка на отработке и других видах жидкого топ...
Горелка масляная: Жидкотопливная масляная горел...
Продам горелка (форсунка) для жидкого топлива (...
Автоматическая жидкотопливная горелка амг-1.2м ...
Горелка на отработке и др. видах жидкого топлив...
Горелка туристическая мультитопливная BRS-8A дл...
Горелка для отработки и другого жидкого топлива...
Горелка для жидкого топлива - YouTube
Газовые горелки для котлов отопления: устройств...
ГОРЕЛКА ДЛЯ СЖИГАНИЯ ГАЗООБРАЗНОГО И ЖИДКОГО ТО...
Бутылка для топлива для кемпинга, бутылка для х...
Горелки на жидком топливе | Природный газ для Вас
Горелка газомазутная РГМГ-1м, цена - 205000.00 ...