Апарати електричні вимірювання лабораторії і ви...
ТЕХНИКА ИЗМЕРЕНИЯ СИЛЫ - HAEHNE - измерения сил...
Прибор для измерения силы тока | Прибор для изм...
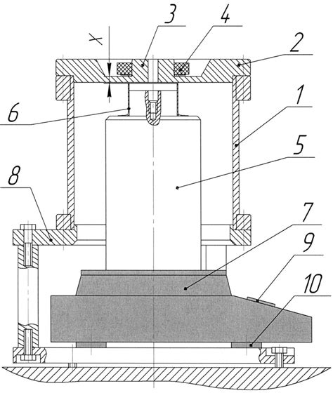
RU129653U1 - Устройство для измерения величины ...
Описание замеров
Амперметр - прибор для измерения силы тока - Yo...
Презентация на тему: "«Сила тяжести. Явление вс...
Купить оптовая продажа 10н ньютон-метр/прибор д...
Приборы и материалы - презентация онлайн
Люксметр - устройство для измерения силы света ...
Амперметр лабораторный
Устройство для измерения мощности, умный измери...
Устройство для измерения уровня электромагнитно...
Приборы для измерения силы купить в OCHA.RU
Прибор для измерения силы зажима шпинделя BT40,...
Приборы измерения мощности - online presentation
ЭМИ - электромагнитные излучения - Приборы для ...
как называется прибор для измерения силы и напр...
картинки : рука, Электрический, Метр, Инструмен...
Измерительные приборы - презентация онлайн
300N сила тестер портативный аналоговый динамом...
врк - Лабораторная работа 3 19 определение удел...
039e527101e7edaf95096edfda50de0a0c5a4dab.jpg
Промышленные датчики силы | Какие существуют да...
Ручной силоизмерительный прибор для измерения с...
Презентация на тему: "Измерительные приборы. Ли...
Купить Автомобиль четырехколесный расположение ...
Прибор для измерения силы электрического тока. ...
Приборы измерения расхода - презентация онлайн
1624339 - Устройство для бесконтактного измерен...
Средства измерения | Статьи компании «ГОСТ»
Презентация на тему: "Урок физики в 7 классе Фи...